|
| 说明 |
|
  |
|
 |
 |
 |
 |
 |
|
|
| 型号 |
|
|
7FBR10 |
7FBR13 |
7FBR15 |
7FBR18 |
7FBR20 |
7FBR25 |
7FBR30 |
| 驾驶员位置 |
|
|
站驾式 |
站驾式 |
站驾式 |
站驾式 |
站驾式 |
站驾式 |
站驾式 |
| 额定负载 |
|
公斤 |
1000 |
1250 |
1500 |
1800 |
2000 |
2500 |
3000 |
| 负载中心 |
|
毫米 |
500 |
500 |
500 |
500 |
500 |
500 |
500 |
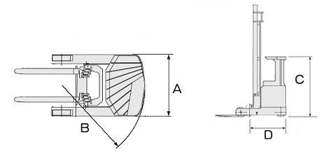
| 全宽 |
A |
毫米 |
1090 |
1090 |
1090 |
1090 |
1190 |
1190 |
1240 |
| 转弯半径 |
B |
毫米 |
1320 |
1470 |
1560 |
1710 |
1750 |
1950 |
2000 |
| 护顶架高 |
C |
毫米 |
2250 |
2250 |
2250 |
2250 |
2330 |
2330 |
2330 |
| 至货叉垂直面的长度 |
D |
毫米 |
1050 |
1050 |
1155 |
1155 |
1250 |
1270 |
1320 | |
| |
 | | | |
|
|
|